พารามิเตอร์ทางเทคนิค

วายเอ็มโมเดล

YM005021

ยี่ห้อไส้กรองแท้

ดอมนิค ฮันเตอร์

แบบจำลองต้นฉบับ

K003-เอเอ

ความแม่นยำ/ปริมาณน้ำมันที่เหลือ

0.01ไมโครเมตร/0.01ppm  

ความสามารถในการประมวลผล

0.18  นิวตันเมตร/นาที

อุณหภูมิในการทำงาน 

1.5~ 80

แรงดันการทำงาน

0.1 ~ 2.0เมกะปาสคา

สื่อมวลชน

ไมโครไฟเบอร์กลาส

ฝาปิดท้าย

พลาสติกวิศวกรรม

ผนึก

บูน่า-เอ็น

ดับเบิลยูแปด (รวมบรรจุภัณฑ์)

0.1กก.

ขนาดบรรจุภัณฑ์ซม.

11*6*6 62#

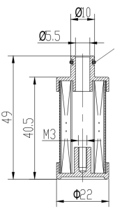
ขนาด(มม.)

ดี


ชม




22±1


49 ± 2



ประเทศต้นทาง / รหัส HTS

จีน / 8421999090

หมายเหตุ

กรุณาปรึกษากับพนักงานขาย Yuanmei สำหรับพื้นที่ที่เหลือ


ภาพแพ็คเกจ

รูปภาพ.png

ข้อความ

หลังจากส่งข้อมูลแล้ววิศวกรจะติดต่อคุณ

ที่แนะนำ
ไม่มีข้อมูล
โซลูชั่นที่เกี่ยวข้อง
    ไม่มีข้อมูล